• 4626阅读
  • 16回复

[义乌楼市]溢价74.76%,1.8亿,义乌一商住地块成交 [复制链接]

上一主题 下一主题
离线网站十五
 

发帖
8699
奖学金
12539
威望
67978
微信分享到朋友圈 图酷模式 只看楼主 倒序阅读 腔主  发表于: 03-30 , 来自: 浙江省金华市
马上注册,结交更多好友,享用更多功能,让你轻松玩转义乌十八腔,更多精彩评论请登录后查看。
  已有账号?点击登录
关闭
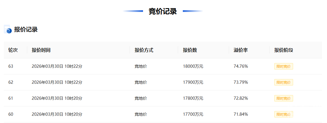
3月30日,江东街道商博路与清波路交叉口东南侧地块成功出让。

经过63轮出价,义乌同辉置业有限公司以18000万元摘得该地块,成交楼面价17225.40元/㎡,溢价率74.76%。



地块位于江东街道,商博路与清波路交叉口东南侧。

地块出让面积4003.71㎡(6.006亩),起始价10300万元,起始楼面价9856.76元/㎡,竞买保证金3090万元。

土地用途城镇住宅用地、商业用地,适建内容商业、居住建筑及其配套用房,容积率2.00-2.61,建筑密度≤40.0%,绿地率≥10%,建筑高度≤27米,出让年期商业用地40年、住宅用地70年。


根据规划条件,地块建筑形式为多层,其中一层为商业,二层及以上为住宅,建筑只允许垂直分割(楼、电梯间可相邻两户共用),且分割单元最小基底面积不少于90平方米(不含两户共用部分 )。

允许开发使用范围内的地下空间主体结构竖向利用深度为-5m ,用途为人防、消防、停车、储藏等配套设施。地块不设置围墙;除建筑占地外,其余用地为公共敞开空间。
1条评分威望+1
房大管家 威望 +1 各个真奴十八力! 04-01
热点话题
特别声明:帖子及回帖全部内容为论坛用户自行上传发布并承担相应的法律责任,不代表本网站观点和立场,本网站仅提供信息存储服务。任何用户如认为页面上的特定内容涉及侵权,可通过页面底部侵权投诉指引向我们进行投诉。
离线北苑小子

发帖
78
奖学金
118
威望
540
只看该作者 沙发  发表于: 04-01 , 来自: 浙江省金华市
地产小阳春了
离线励志哥

发帖
2898
奖学金
2273
威望
5221
只看该作者 板凳  发表于: 04-01 , 来自: 浙江省金华市
折合成交楼面价17225元/㎡

发帖
1678
奖学金
1450
威望
3234
只看该作者 地板  发表于: 04-01 , 来自: 浙江省金华市
该地块为垂直楼项目

发帖
3800
奖学金
3267
威望
5342
只看该作者 4腔 发表于: 04-01 , 来自: 浙江省金华市
这个楼面价成交楼面价已经接近2021年成交的海玥萃鸣地块,其成交楼面价为18623元/㎡。
离线金锁

发帖
1194
奖学金
1180
威望
1794
只看该作者 5腔 发表于: 04-01 , 来自: 浙江省金华市
没听到过这个企业噶

发帖
1096
奖学金
1009
威望
1414
只看该作者 6腔 发表于: 04-01 , 来自: 浙江省金华市
义乌本土的民营企业
离线吃管管

发帖
58
奖学金
95
威望
202
只看该作者 7腔 发表于: 04-01 , 来自: 浙江省金华市
好的好的
离线侬好萌

发帖
1788
奖学金
1568
威望
2746
只看该作者 8腔 发表于: 04-01 , 来自: 浙江省金华市
其此前在2025年4月在后宅区块也有过拿地,开发了神舟楼项目。
离线比干丞相

发帖
1163
奖学金
1250
威望
2270
只看该作者 9腔 发表于: 04-01 , 来自: 浙江省金华市
今年以来,义乌成交地块均具有较高的溢价水平,说明义乌土地市场具有充分的活力和向上的预期。

发帖
1396
奖学金
1450
威望
2063
只看该作者 10腔 发表于: 04-01 , 来自: 浙江省金华市
出让地块还是少了
离线当当哥

发帖
1532
奖学金
1696
威望
3557
只看该作者 11腔 发表于: 04-01 , 来自: 浙江省金华市
位置真好

发帖
1539
奖学金
1608
威望
2459
只看该作者 12腔 发表于: 04-01 , 来自: 浙江省金华市
出去就看到了CBD了

发帖
1503
奖学金
1547
威望
2159
只看该作者 13腔 发表于: 04-01 , 来自: 浙江省金华市
不知道是好是坏了

发帖
1599
奖学金
1699
威望
3249
只看该作者 14腔 发表于: 04-01 , 来自: 浙江省金华市
也是不得了了
离线房大管家

发帖
259
奖学金
493
威望
780
只看该作者 15腔 发表于: 04-01 , 来自: 浙江省金华市
各个真奴十八力!
离线想吃蛋饼

发帖
520
奖学金
587
威望
1482
只看该作者 16腔 发表于: 04-01 , 来自: 浙江省金华市
可以的
本帖共有16条回复,请登录后查看。
  已有账号?点击登录
快速回复
限100 字节
如果您在写长篇帖子又不马上发表,建议存为草稿