|
|
马上注册,结交更多好友,享用更多功能,让你轻松玩转义乌十八腔,更多精彩评论请登录后查看。
关闭
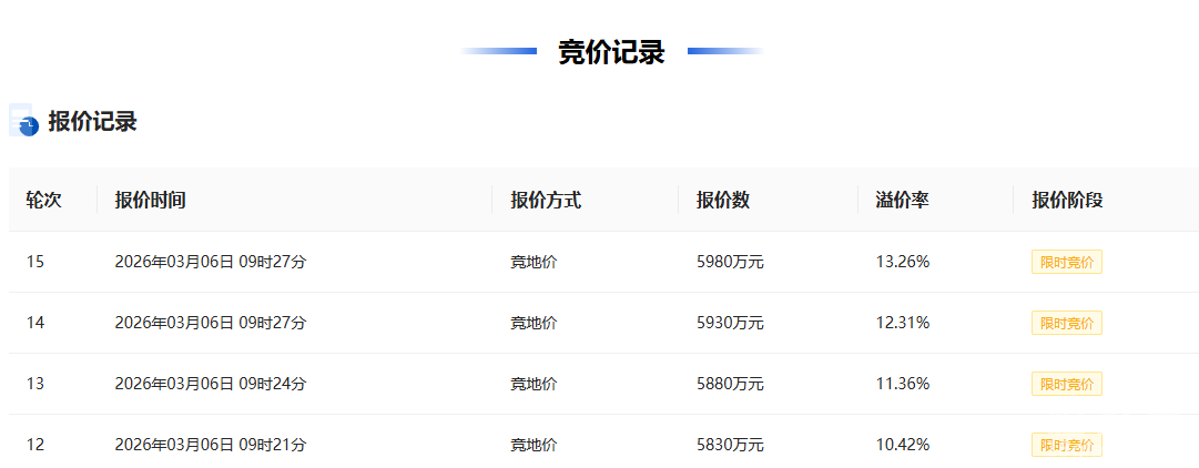
3月6日,上溪镇文明路南侧地块成功出让。 经过15轮出价,义乌市名承置业有限公司以5980万元摘得该地块,溢价率13.26%。
  地块位于上溪镇文明路南侧。地块出让面积3490.45㎡(5.236亩),起始价5280万元,竞买保证金1584万元。 土地用途城镇住宅用地,城镇村道路用地,交通场站用地,商业用地,适建内容商业、居住建筑、社会停车场及其配套用房,容积率2.10-2.20,建筑密度33%-35%,绿地率≥10%,建筑高度≤21米。出让年期城镇住宅用地70年,城镇村道路用地,交通场站用地50年,商业用地40年。
 根据规划条件,地块建筑形式为多层,其中一层为商业,二层及以上为住宅,建筑只允许垂直分割(楼、电梯间可相邻两户共用),且分割单元最小基底面积不少于80平方米(不含两户共用部分 )。 地下室不得超过一层,层高不得超过4.5米,用途为消防、储藏等配套设施。地块不设置围墙;除建筑占地外,其余用地为公共敞开空间。 地块内包含道路面积206.09㎡,应按城市道路标准建设,施工方案应与建设部门做好衔接,待项目施工完成后,地上道路部分应无偿移交给市政府。地块内包含社会停车场面积644.37m²,施工方案应与建设部门做好衔接,待项目施工完成后,无偿移交给市政府。
|