• 7390阅读
  • 16回复

[义乌楼市]溢价21.42%!义乌福田沿街涉宅用地3.29亿成交 [复制链接]

上一主题 下一主题
离线网站十五
 

发帖
8740
奖学金
12623
威望
68177
微信分享到朋友圈 图酷模式 只看楼主 倒序阅读 腔主  发表于: 2025-12-01 , 来自: 浙江省金华市
马上注册,结交更多好友,享用更多功能,让你轻松玩转义乌十八腔,更多精彩评论请登录后查看。
  已有账号?点击登录
关闭
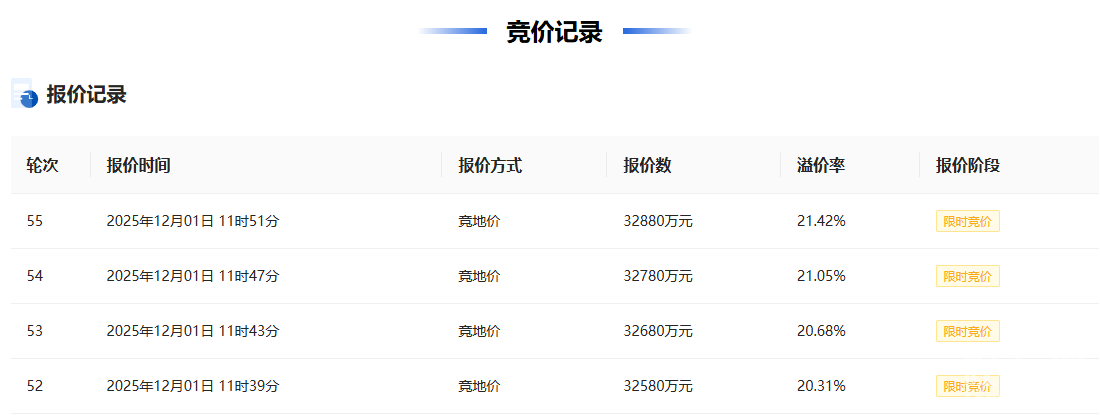
12月1日,福田街道商城大道(兴港小区段)南侧地块成功出让。

经过55轮出价,义乌长利置业有限公司32880万元竞得该地块,溢价率21.42%。



地块位于福田街道商城大道南侧。

地块出让面积17494.78㎡(26.242亩),起始价27080万元,竞买保证金5416万元。


土地用途城镇住宅用地、商业服务业用地,适建内容商业、商务、居住建筑及其配套用房,容积率2.50-2.80,建筑密度≤45.0%,绿地率≥10%,建筑高度≤60米,出让年期商业用地40年、城镇住宅用地70年。


根据规划条件,地块功能为商业、住宅、商务。

地块商住建筑形式为多层,建筑面积不应超过2.0万平方米,其中一层为商业,二层及以上为住宅,建筑只允许垂直分割(楼、电梯间可相邻两户共用),且分割单元最小基底面积不少于80平方米(不含两户共用部分)。

地块商业、商务建筑形式为高层,若做酒店,只允许垂直分割,其中可分割销售部分最小分割单元占地面积不小于300平方米,建筑面积不小于4000平方米;若做商务,允许水平分割,最小分割单元建筑面积不小于300平方米。

商业高层建筑应采用玻璃幕墙,商住多层建筑沿街面应采用铝板和干挂石材等材料,建筑外立面应与市场形象相匹配。允许开发使用范围内的地下空间主体结构竖向利用深度不超过-12米,用途为人防、消防、停车、储藏等配套设施。

整理:义乌房子网
编辑:网站十五
加房小白微信
陪你畅谈义乌楼市、解决买房大小事



17条评分威望+17
嫩牛五方 威望 +1 - 2025-12-04
雨过天晴更美好 威望 +1 - 2025-12-03
纯情少女 威望 +1 - 2025-12-03
金氏义乌侬 威望 +1 - 2025-12-03
丰之语 威望 +1 - 2025-12-03
醉美小镇 威望 +1 - 2025-12-02
ywmgs01 威望 +1 - 2025-12-02
雨中淋雨 威望 +1 - 2025-12-02
呜呜呜didi 威望 +1 - 2025-12-02
秋天的收获 威望 +1 - 2025-12-02
12
热点话题
特别声明:帖子及回帖全部内容为论坛用户自行上传发布并承担相应的法律责任,不代表本网站观点和立场,本网站仅提供信息存储服务。任何用户如认为页面上的特定内容涉及侵权,可通过页面底部侵权投诉指引向我们进行投诉。
离线狗妹妹、

发帖
0
奖学金
8527
威望
26324
只看该作者 沙发  发表于: 2025-12-01 , 来自: 浙江省宁波市
3条评分威望+3
劣等生命体 威望 +1 - 2025-12-03
对不 威望 +1 - 2025-12-02
a654349826 威望 +1 - 2025-12-01
离线a654349826

发帖
0
奖学金
40467
威望
69816
只看该作者 板凳  发表于: 2025-12-01 , 来自: 浙江省台州市
2条评分威望+2
劣等生命体 威望 +1 - 2025-12-03
对不 威望 +1 - 2025-12-02
离线腔友力

发帖
4600
奖学金
4609
威望
12290
只看该作者 地板  发表于: 2025-12-02 , 来自: 广西
离线小金土豆

发帖
678
奖学金
679
威望
2363
只看该作者 4腔 发表于: 2025-12-02 , 来自: 浙江省金华市
离线kaixin666

发帖
681
奖学金
696
威望
2512
只看该作者 5腔 发表于: 2025-12-02 , 来自: 浙江省杭州市
离线醉美小镇

发帖
14800
奖学金
15263
威望
30913
只看该作者 6腔 发表于: 2025-12-02 , 来自: 浙江省金华市
离线义东往东

发帖
4253
奖学金
4253
威望
8077
只看该作者 7腔 发表于: 2025-12-03 , 来自: 浙江省金华市

发帖
0
奖学金
21243
威望
36876
只看该作者 8腔 发表于: 2025-12-03 , 来自: 广西
离线纯情少女

发帖
0
奖学金
4670
威望
11469
只看该作者 9腔 发表于: 2025-12-03 , 来自: 浙江省金华市

发帖
1349
奖学金
1361
威望
2959
只看该作者 10腔 发表于: 2025-12-03 , 来自: 浙江省宁波市

发帖
7974
奖学金
7975
威望
18281
只看该作者 11腔 发表于: 2025-12-03 , 来自: 浙江省金华市
离线励志哥

发帖
2932
奖学金
2307
威望
5258
只看该作者 12腔 发表于: 2025-12-03 , 来自: 浙江省金华市
啥公司?
离线禹丁琳伟

发帖
1318
奖学金
1188
威望
1823
只看该作者 13腔 发表于: 2025-12-03 , 来自: 浙江省金华市
好像才成立没多久的
离线大表姐11

发帖
1504
奖学金
1305
威望
2207
只看该作者 14腔 发表于: 2025-12-03 , 来自: 浙江省金华市
义乌本地企业
离线力行行

发帖
1249
奖学金
1141
威望
1906
只看该作者 15腔 发表于: 2025-12-03 , 来自: 浙江省金华市
最终,经过55轮报价,义乌本土民企——义乌长利置业以32880万元总价竞得地块,楼面价6712元/㎡,溢价率21.42%。
离线栗栗子

发帖
1057
奖学金
1044
威望
1853
只看该作者 16腔 发表于: 2025-12-03 , 来自: 浙江省金华市
该地块的出让结果,正是2025年义乌土地市场热度与结构的一个生动缩影。

发帖
0
奖学金
17728
威望
77856
只看该作者 17腔 发表于: 2025-12-14 , 来自: 浙江金华市
本帖共有16条回复,请登录后查看。
  已有账号?点击登录
快速回复
限100 字节
如果您提交过一次失败了,可以用”恢复数据”来恢复帖子内容